9carthai

Nokia วางแผนพัฒนาสมาร์ทโฟนจอพับได้ หลังสิทธิบัตรผ่านการรับรอง!

โพสโดย : / วันที่ : 18 January 2017

Nokia วางแผนพัฒนาสมาร์ทโฟนจอพับได้ หลังสิทธิบัตรผ่านการรับรอง!

ภาพคอนเซ็ปต์ประกอบบทความ

ภาพคอนเซ็ปต์ประกอบบทความ

ล่าสุดดูเหมือนว่า Nokia อดีตแบรนด์ยักษ์ใหญ่ของวงการที่กลับมาบุกตลาดอีกครั้งด้วยสมาร์ทโฟนรันระบบ Android อาจซุ่มพัฒนาสมาร์ทโฟนจอพับได้เหมือนกัน โดยมีสิทธิบัตรชื่อ Foldable device ที่ถูกยื่นจดไปเมื่อปี 2013 ได้ผ่านการรับรองจาก USPTO หรือสำนักสิทธิบัตรและเครื่องหมายการค้าแห่งสหรัฐฯ เป็นที่เรียบร้อย

Nokia Nokia Nokia Nokia
Nokia Nokia

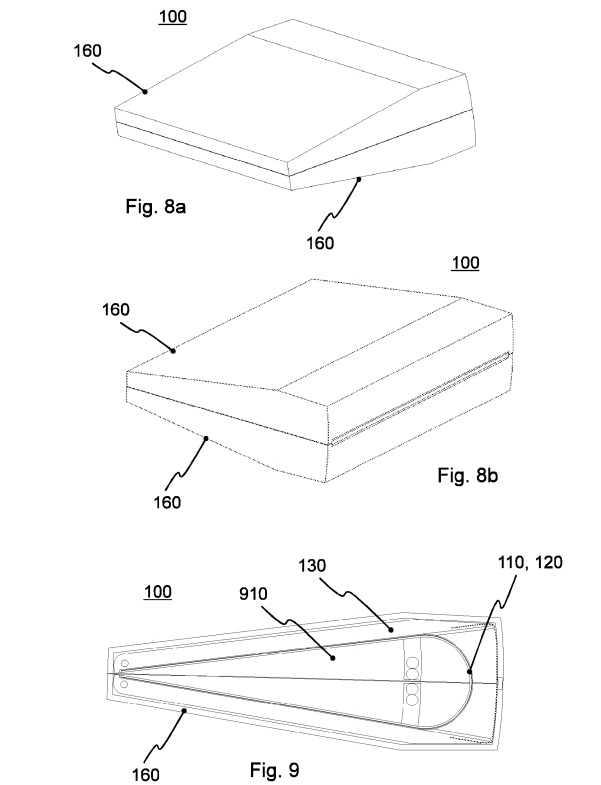
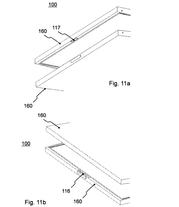
โดยสิทธิบัตรฉบับดังกล่าวปรากกฏอุปกรณ์ที่มีดีไซน์คล้ายกับกระจกพับ ตัวเครื่องแยกออกเป็น 2 ส่วน และเชื่อมเข้าหากันด้วยบานพับ หน้าจอแสดงผลเป็นแบบยืดหยุ่นสามารถโค้งงอได้ ตามข้อมูลระบุว่าดีไซน์ในลักษณะดังกล่าวสามารถสร้างอุปกรณ์ที่มีขนาดเล็กได้ และเมื่อกางออกหน้าจอจะมีขนาดใหญ่ขึ้น ตั้งแต่ 6 – 8 นิ้ว กันเลยทีเดียว และอาจมาพร้อมกลไกบานพับที่คล้ายกับแล็ปท็อปด้วย

Nokia Nokia Nokia Nokia Nokia

ทั้งนี้ ยังไม่มีข้อมูลที่แน่ชัดว่า Nokia จะนำสิทธิบัตรฉบับดังกล่าวมาพัฒนากับอุปกรณ์รุ่นใด แต่เห็นได้ชัดว่าการกลับมาของอดีตยักษ์ใหญ่ในครั้งนี้น่าจะเป็นคู่แข่งคนสำคัญของแบรนด์ระดับต้นๆ ในขณะนี้ก็เป็นได้ ส่วนใครที่อยากเห็นสมาร์ทโฟนหน้าจอพับได้เริ่มมีข่าวออกมาแล้วว่า Samsung จะเปิดตัวสมาร์ทโฟนตระกูล Galaxy X ช่วงครึ่งหลังของปี 2017 ส่วนจะเป็นจริงหรือไม่ต้องมาลุ้นกันค่ะ

ขอขอบคุณข้อมูลและรูปภาพ www.phonearena.com, behance, www.gizmochina.com

แสดงความคิดเห็น เกี่ยวกับ " Nokia วางแผนพัฒนาสมาร์ทโฟนจอพับได้ หลังสิทธิบัตรผ่านการรับรอง! "

อัพเดทล่าสุด